首頁
公司介紹
新聞中心
組織機構
服務理念
售後服務
聯系我們
産品中心
jtgk.png

産品中心

Q41F三片式法蘭球閥

您的位置:閥門 - 球閥 - Q41F三片式法蘭球閥 更新時間:2026-01-12 02:01:11
Q41F三片式法蘭球閥
    • 質量安全:壓力、材質、密封等全方位檢測确保質量過關!
    • 價格比較:在相同品質的情況下,廠裏直銷,更具有優勢!
    • 交貨快捷:常規産品現貨供應,生産加工銷售一條龍服務!
      上海凱利科閥門緻力于高品質閥門的設計、研發、生産銷售服務于一體的大型閥門企業,科技創新,永不止步,與您攜手共創輝煌...

    • 産品描述
    • 在線詢價
    • 技術咨詢
    Q41F三片式法蘭球閥Q41F三片式法蘭球閥

    Q41F三片式法蘭球閥适用于PN1.0~6.4MPa,工作溫度-29~180℃(密封圈爲增強聚四氟乙烯)或-29~300℃(密封圈爲對位聚苯)的各種管路上,用于截斷或接通管路中的介質。選用不同的材質可分别适用于水、蒸汽、油品、硝酸、醋酸等多種介質。

    産品名稱: 三片式法蘭球閥 産品型号: Q41F
    公稱通徑: DN6~DN100 結構形式: 球形
    公稱壓力: 1.6Mpa~6.4Mpa(W.O.G) 連接方式: 法蘭
    适用溫度: -20~232℃~350℃ 驅動方式: 手動、電動、氣動
    閥體材質: 鑄鋼、不鏽鋼 制造标準: 國标GB、德國DIN、美國API、ANSI
    适用介質: 水、油、氣及某些腐蝕性液體 生産廠家: 上海凱利科閥門有限公司

    産品說明

    Q41F三片式法蘭球閥适用于PN1.0~6.4MPa,工作溫度-29~180℃(密封圈爲增強聚四氟乙烯)或-29~300℃(密封圈爲對位聚苯)的各種管路上,用于截斷或接通管路中的介質。選用不同的材質,可分别适用于水、蒸汽、油品、硝酸、醋酸等多種介質。

    執行标準

    設計規範:GB/T 12237
    結構長度:GB/T 12221
    連接法蘭:JB/T 79,HG20592,GB9113,ANSI
    試驗與檢驗:JB/T 9092,GB/T13927
    壓力-溫度:GB/T 9131
    産品标識:GB/T 12220

    産品特征。

    公稱壓力 1.6-6.4MPa
    适用穩定範圍 -20~232℃~350℃
    适用介質 水、油、氣及某些腐蝕性液體(W。O。G)
    對焊标準(BW) GB12224.ANSIB16.25

    主要零件材料

    零件名稱 材質
    不鏽鋼 碳鋼
    螺栓 不鏽鋼SS304 碳鋼
    彈簧墊圈 不鏽鋼SS304 不鏽鋼SS304
    螺母 不鏽鋼SS304 碳鋼
    閥蓋 不鏽鋼CF8/CF8M 碳鋼WCB
    閥體 不鏽鋼CF8/CF8M 碳鋼WCB
    球體 不鏽鋼CF8 不鏽鋼CF8
    密封圈 聚四氟乙烯PTFE 聚四氟乙烯PTFE
    閥杆 不鏽鋼SS316 不鏽鋼SS304
    填料 聚四氟乙烯PTFE 聚四氟乙烯PTFE
    壓緊螺母 不鏽鋼SS316 不鏽鋼SS304
    彈簧墊圈 不鏽鋼SS304 不鏽鋼SS304
    螺母 不鏽鋼SS304 不鏽鋼SS304
    手柄 不鏽鋼SS304 不鏽鋼SS304

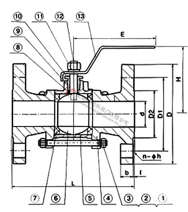
    外形結構圖

    主要連接尺寸及重量

    SIZE 1/2" 3/4" 1" 1-1/4" 1-1/2" 2" 2-1/2" 3" 4"
    d 15 20 25 32 38 50 65 76 100
    L 130 150 160 180 200 230 290 310 350
    D 95 105 115 135 145 160 180 195 230
    D1 65 75 85 100 110 125 145 160 190
    D2 45 55 65 78 85 100 120 135 160
    b 14 16 16 18 18 20 22 24 24
    f 2 2 2 3 3 3 3 3 3
    H 75 95 90 110 130 140 170 180 250
    w 130 140 140 170 200 220 350 350 550
    n-do 4-14 4-14 4-14 4-18 4-18 8-18 8-18 8-18 8-22
     

    聲明:【Q41F三片式法蘭球閥】規格型号、結構尺寸由上海凱利科閥門有限公司提供,如何選擇适用的Q41F三片式法蘭球閥産品,使之在工藝控制中安全可靠、經濟适用,可緻電我司銷售部門及技術部門,我們将在最短的時間内爲您解答!

    

    Copyright ©2011-2023 上海凱利科閥門有限公司,版權所有。 京ICP證000000号

    銷售電話:021-31001158

    手機号碼:13816746668 陳國輝/經理

    電子郵件:klkvalves@126.com@126.com

    主營産品:球閥,閘閥,蝶閥,截止閥,止回閥,調節閥

    本周熱門:不鏽鋼阻火器全天候呼吸閥氣動球閥氣動蝶閥氣動刀閘閥氣動調節閥電動球閥電動蝶閥電動刀閘閥電動調節閥不鏽鋼球閥不鏽鋼閘閥不鏽鋼截止閥不鏽鋼止回閥不鏽鋼電磁閥高壓電磁閥高壓球閥波紋管截止閥

    官方網址:www.fm058.com