首頁
公司介紹
新聞中心
組織機構
服務理念
售後服務
聯系我們
産品中心
jtgk.png

産品中心

Q71F薄型球閥

您的位置:閥門 - 球閥 - Q71F薄型球閥 更新時間:2026-01-12 02:01:01
Q71F薄型球閥
    • 質量安全:壓力、材質、密封等全方位檢測确保質量過關!
    • 價格比較:在相同品質的情況下,廠裏直銷,更具有優勢!
    • 交貨快捷:常規産品現貨供應,生産加工銷售一條龍服務!
      上海凱利科閥門緻力于高品質閥門的設計、研發、生産銷售服務于一體的大型閥門企業,科技創新,永不止步,與您攜手共創輝煌...

    • 産品描述
    • 在線詢價
    • 技術咨詢
    Q71F薄型球閥Q71F薄型球閥

    Q71F薄型球閥是引進意大利技術進行國産化設計而發展出的新一代超短法蘭距球閥,球芯通道形狀有矩形、V形及O形。該系列産品具有結構緊湊、體積小、重量輕、安裝方便等特點,可廣泛應用在石油、化工、冶金、電站、輕工等領域,對油、水、氣及紙漿或纖維狀流體進行調節或切斷控制。

    産品名稱: 薄型球閥 産品型号: Q71F
    公稱通徑: DN15~DN200 結構形式: 球形
    公稱壓力: 1.6Mpa~4.0Mpa 連接方式: 對夾式
    适用溫度: -20ºC~+180ºC~425ºC~550ºC 驅動方式: 手動、電動、氣動
    閥體材質: 鑄鋼、碳鋼、鍛鋼、不鏽鋼 制造标準: 國标GB、德國DIN、美國API、ANSI
    适用介質: 水、油、蒸汽、氣體、液體等 生産廠家: 上海凱利科閥門有限公司

    産品說明

    Q71F薄型球閥是引進意大利技術進行國産化設計而發展出的新一代超短法蘭距球閥,球芯通道形狀有矩形、V形及O形。該系列産品具有結構緊湊、體積小、重量輕、安裝方便等特點,可廣泛應用在石油、化工、冶金、電站、輕工等領域,對油、水、氣及紙漿或纖維狀流體進行調節或切斷控制。

    主要閥體材料

    型号 Q71F-16C Q71F-25 Q71F-16P Q71F-25P Q71F-16R Q71F-25R
    工作壓力(MPa) 1.6 2.5 1.6 2.5 1.6 2.5
    适用溫度(℃) ≤150 ≤150
    适用介質 無腐蝕性介質 腐蝕性介質
    材料 閥體、密封瓶帽 WCB CF8 CF3
    閥杆 2CR13 304SS 316SS
    密封圈 PTFE
    填料 PTFE

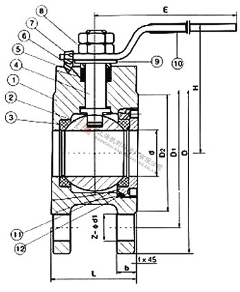
    外形結構圖

     

    主要連接尺寸

    口徑(in") 1/2 3/4 1 1 1 / 4 1 1 / 2 2 2 1 / 2 3 4 5 6 8
    d 15 19 23.5 30 36 45 58 67 76 100 125 195
    L 32 38.5 45 55 62 72 95 120 145 200 225 275
    D 95 105 115 135 145 160 180 195 215 245 280 335
    D1 65 75 85 100 110 125 145 160 180 210 240 295
    D2 45 55 65 78 85 100 120 135 155 185 210 265
    H 62 70 79 86 92 102 158 172 187 200 240 278
    E 110 125 135 150 150 180 250 300 350 650 840 1000
    b 14 14 16 16 18 20 22 24 24 26 26 28
    z-d1 4-14 4-14 4-14 4-18 4-18 4-18 4-18 8-18 8-18 8-18 8-23 12-20
    f 2 2 2 3 3 3 3 3 3 3 3 3
     

     
     
     

    聲明:【Q71F薄型球閥】規格型号、結構尺寸由上海凱利科閥門有限公司提供,如何選擇适用的Q71F薄型球閥産品,使之在工藝控制中安全可靠、經濟适用,可緻電我司銷售部門及技術部門,我們将在最短的時間内爲您解答!

    

    Copyright ©2011-2023 上海凱利科閥門有限公司,版權所有。 京ICP證000000号

    銷售電話:021-31001158

    手機号碼:13816746668 陳國輝/經理

    電子郵件:klkvalves@126.com@126.com

    主營産品:球閥,閘閥,蝶閥,截止閥,止回閥,調節閥

    本周熱門:不鏽鋼阻火器全天候呼吸閥氣動球閥氣動蝶閥氣動刀閘閥氣動調節閥電動球閥電動蝶閥電動刀閘閥電動調節閥不鏽鋼球閥不鏽鋼閘閥不鏽鋼截止閥不鏽鋼止回閥不鏽鋼電磁閥高壓電磁閥高壓球閥波紋管截止閥

    官方網址:www.fm058.com